1993 polaris 350 engine diagram

1993 Polaris 350 Wiring Diagram - Wiring Diagram and Schematic. 17 Pics about 1993 Polaris 350 Wiring Diagram - Wiring Diagram and Schematic : 1993 Polaris 350 Wiring Diagram - Wiring Diagram and Schematic, 1993 Polaris 350 4x4 Owners Manual - gigaenergy and also Polaris OEM Part 7512024 | eBay.

1993 Polaris 350 Wiring Diagram - Wiring Diagram And Schematic

1993 Polaris 350 Wiring Diagram - Wiring Diagram and Schematic wiring.hpricorpcom.com

350l

1993 Polaris 350 4x4 Owners Manual - Gigaenergy

1993 Polaris 350 4x4 Owners Manual - gigaenergy gigaenergy.weebly.com

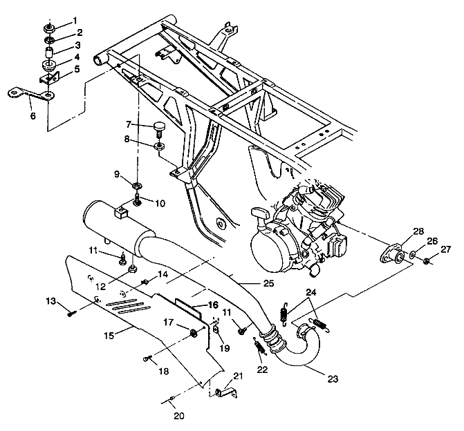
polaris haynes atvs verkstadshandbok sportsman scrambler motorcykel trailblazer 2302 xplorer hendler

Polaris OEM Part 7512024 | EBay

Polaris OEM Part 7512024 | eBay www.ebay.com

350l

Sample

sample myatvmanual.com

moto yamaha manual service 1985 1995

Polaris ATV 2001 OEM Parts Diagram For CYLINDER | Partzilla.com

Polaris ATV 2001 OEM Parts Diagram for CYLINDER | Partzilla.com www.partzilla.com

polaris cylinder diesel partzilla atv 2001 diagram

Polaris ATV 1998 OEM Parts Diagram For Carburetor | Partzilla.com

Polaris ATV 1998 OEM Parts Diagram for Carburetor | Partzilla.com www.partzilla.com

carburetor partzilla vergaser

Essex Wiring Diagram - Wiring Diagram & Schemas

Essex Wiring Diagram - Wiring Diagram & Schemas wiringideas.blogspot.com

essex heil dc90

Baja 90cc Wiring Harnes - Wiring Diagrams

Baja 90cc Wiring Harnes - Wiring Diagrams cars-wiringdiagram.blogspot.com

baja wiring diagram 90cc harnes shifter

Engine Swap - Polaris ATV Forum

Engine Swap - Polaris ATV Forum www.polarisatvforums.com

engine atv swap

Polari 400 Explorer Engine Diagram - Wiring Diagram

Polari 400 Explorer Engine Diagram - Wiring Diagram wiring121.blogspot.com

diagram polaris explorer engine parts 1998

Polaris ATV 2010 OEM Parts Diagram For Engine - Cylinder Head

Polaris ATV 2010 OEM Parts Diagram for Engine - Cylinder Head www.partzilla.com

partzilla

DOWNLOAD [DIAGRAM] Jeep Cj3a Wiring Diagram Dash Full Quality

DOWNLOAD [DIAGRAM] Jeep Cj3a Wiring Diagram Dash Full Quality dronedeals.kinggo.fr

wiring diagram cj3a circuit breaker jeep bracket breakers cj2a harness dash mb forums gpw

Polaris ATV 2010 OEM Parts Diagram For Engine - Cylinder Head

Polaris ATV 2010 OEM Parts Diagram for Engine - Cylinder Head www.partzilla.com

polaris cylinder engine head outlaw ad partzilla atv predator cd cb diagram

Polaris ATV 2002 OEM Parts Diagram For Cylinder All Options | Partzilla.com

Polaris ATV 2002 OEM Parts Diagram for Cylinder All Options | Partzilla.com www.partzilla.com

options polaris cylinder sportsman partzilla atv 2002 diagram

Yamaha Moto 4 Fuse Box

Yamaha Moto 4 Fuse Box coveredinsparkles.blogspot.com

peterbilt jog trolling diagramsample 1100 produce

Polaris ATV 2008 OEM Parts Diagram For Engine, Cylinder | Partzilla.com

Polaris ATV 2008 OEM Parts Diagram for Engine, Cylinder | Partzilla.com www.partzilla.com

polaris cylinder engine sportsman ax 4x4 az partzilla atv 2008 diagram

Polaris ATV 2007 OEM Parts Diagram For Engine, Cylinder | Partzilla.com

Polaris ATV 2007 OEM Parts Diagram for Engine, Cylinder | Partzilla.com www.partzilla.com

polaris partzilla

Essex heil dc90. Moto yamaha manual service 1985 1995. Peterbilt jog trolling diagramsample 1100 produce